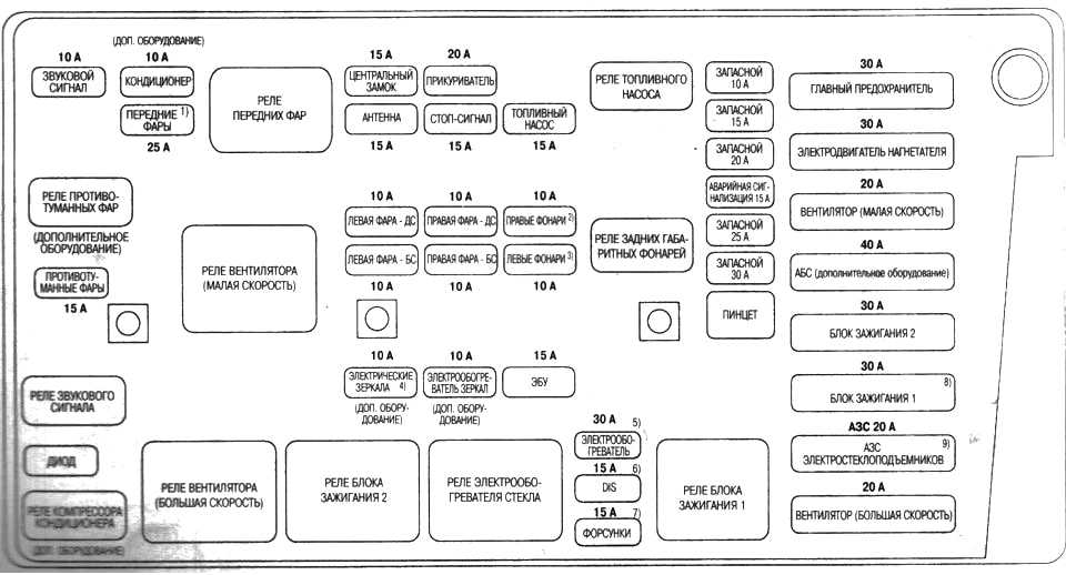
Блок под капотом
Находится рядом с аккумуляторной батареей под защитной крышкой.
Фото – пример исполнения
Назначение
Общая схема
Обозначение
| 1 | 30А Главный предохранитель для предохранителей 1 — 5 |
| 2 | 30А Электродвигатель нагнетателя воздуха |
| 3 | 20А Вентилятор охлаждения, первая скорость |
| 4 | 60А ABS, ESP |
| 5 | 30А Замок зажигания 2 |
| 6 | 30А Замок зажигания 1 |
| 7 | 20А Стеклоподъемники |
| 8 | 20А Вентилятор охлаждения, вторая скорость |
| 9 | 10А Не используется |
| 10 | 15А Не используется |
| 11 | 20А Не используется |
| 12 | 15А Аварийная сигнализация |
| 13 | 25А Не используется |
| 14 | 30А Не используется |
| 15 | 30А Обогрев заднего ветрового стекла |
| 16 | 20А DIS |
| 17 | 15А Система впрыска |
| 18 | Резерв |
| 19 | 15А Топливный насос |
| 20 | 10А Правый наружный свет (ы) |
| 21 | 10А Левый наружный свет (ы) |
| 22 | 15А Электронный блок управления |
| 23 | 20А Стоп-сигналы |
| 24 | 20А Электропривод сидений |
| 25 | 10А Правый дальний свет |
| 26 | 10А Правый ближний свет |
| 27 | 10А Зеркало с подогревом |
| 28 | 15А Центральный замок |
| 29 | 15А Антенна |
| 30 | 10А Левый дальний свет |
| 31 | 10А Левый ближний свет |
| 32 | 10А Электропривод зеркал |
| 33 | 10А Кондиционирование воздуха |
| 34 | 25А Фары |
| 35 | 10А Сигнал |
| 36 | Резерв |
| 37 | 15А Противотуманные фары |
| R1 | Фары |
| R2 | Топливный насос |
| R3 | Передние противотуманные фары |
| R4 | Вентилятор охлаждения, первая скорость |
| R5 | Задние фонари |
| R6 | Сигнал |
| R7 | |
| R8 | Кондиционирование воздуха |
| R9 | Вентилятор охлаждения, вторая скорость |
| R10 | Замок зажигания 2 |
| R11 | Обогрев заднего ветрового стекла |
| R12 | Замок зажигания 1 |
| D | Диод — кондиционер |
Причины большого потребления топлива
Если говорить о повышенном расходе топлива на Дэу Нубира, то существует ряд причин. Которые можно разделить на технические и эксплуатационные.
Основные технические проблемы, из-за которых возрастает расход топлива:
- Неисправность двигателя.
- Неправильно настроенное зажигание, забитость инжектора, либо других элементов топливной системы.
- Некорректная работа электронной системы управления двигателем (чаще всего возникает из-за вышедшего из строя какого-либо датчика).
- Прогоревший или забитый катализатор помимо увеличения расхода, очень сильно влияет на потерю мощности.
- Вышедшие из строя свечи зажигания.
- Забитые форсунки.
- Засоренный воздушный, а также топливный фильтр.
- Износ сцепления или автоматической трансмиссии.
- Неисправности тормозной системы.
- Износ покрышек или слабое давление в них.
Эксплуатационные нюансы, из-за которых возможен повышенный расход:
- Спортивный стиль вождения с резкими ускорениями, при котором двигателю приходится работать на повышенных оборотах.
- Большая загрузка автомобиля, также буксировка прицепа и использования багажника на крыше.
- Заправка машины некачественным топливом.
- Использование моторных и трансмиссионных масел большей вязкости, чем рекомендует производитель.
- Движение на непрогретом двигателе.
- Неправильный выбор размера колес или колесных дисков.
- Езда с включенными потребителями энергии, а также работающим кондиционером.
Большинство причин, по которым на Дэу Нубира может проснуться жор, являются банальными и лежат на поверхности. Но для определения некоторых неисправностей может потребоваться профессиональная диагностика.
В некоторых случаях, для достижения нормального расхода, необходимо провести ряд ремонтных либо профилактических действий. При которых, поэтапно будут проверены все проблемные места, а также устранены ошибки.
Цвет
Цвета, которые имеют значки на приборной панели:
- Красный цвет символов свидетельствует о возможных серьезных неисправностях либо же нерешенным вопросом безопасности транспортного средства. Кроме того, символы красного цвета часто используются в качестве напоминаний, к примеру, о включении стояночного тормоза.
- Оранжевая или желтая расцветка индикаторов говорит о том, что тот или иной узел или механизм транспортного средства нуждается в обслуживании и даже ремонте. Как показывает практика, в большинстве случаев, когда оранжевый символ мигает, водителю необходимо максимально быстро обратиться за помощью к специалисту или произвести диагностику узла.
- Зеленый или синий цвета обычно применяются только для того, чтобы проинформировать водителя о том, что функция активирована и все работает нормально. В принципе, на этом можно закончить этот пункт и перейти к расшифровке. Следует начать с более важных и серьезных индикаторов и обозначений.
Лампочки систем контроля и управления
| Символ | Значение |
| Если загорелись такие лампочки, то это свидетельствует о работе антипробуксовочной системы. Зеленые индикаторы говорят, что система функционирует в нормальном режиме, желтые — о сбоях и неполадках.
Индикаторы TCS и DTC напрямую связаны с функционированием тормозной либо системы подачи горючего, если в них имеется неисправность. |
|
| Данные индикаторы указывают на работу системы подъема и спуска с горы, поддержания постоянной скорости. Появление значков может указывать на поломки в работе системы или состояние транспортного средства в определенный момент. | |
| Значок систем ESP или DSC. Сообщает о функционировании дифференциала с электронной блокировкой с неполадками, а также о неисправностях в работе антипробуксовочной системы. | |
| Общий индикатор неисправности для транспортных средств с задним приводом. Требуется более детальная диагностика авто. | |
| Значок, сообщающий о деактивации системы помощи при экстренном торможении. Данная функция в машине позволяет произвести активацию торможения до момента столкновения с препятствием. Если была включена система, но значок продолжает гореть на панели приборов, это может свидетельствовать о неисправности или загрязнении лазерных контроллеров. | |
| Индикатор включенного режима движения по бездорожью на небольшой скорости. | |
| Неисправность системы помощи при экстренной остановке или стабилизации. Эти два узла связаны между собой и появление индикатора может указывать на поломку одного из них. Неисправность может состоять в датчиках, установленных на колесах. | |
| Некорректная работа системы кинетической стабилизации подвески. |
Демонтаж радиатора
Как видим, чтобы получить доступ к печному блоку, придётся основательно потрудиться. Желательно фиксировать весь процесс, чтобы при обратном монтаже не забыть прикрутить все болты и саморезы. Теперь расскажем, как снять радиатор печки седана Daewoo Nubira:
- отсоединяем патрубки радиатора, приготовив предварительно ёмкость для охлаждающей жидкости (должно вылиться порядка литра-полтора антифриза);
- отсоединяем вакуумную трубку;
- демонтируем пластиковую защиту отопителя;
- откручиваем удерживающие радиатор прижимные скобы (они находятся с левой стороны вверху и внизу);
- извлекаем радиатор.
Теперь можно приступать к его тщательному осмотру. Если имеются течи, такие места заметить несложно, они будут отличаться цветом и будут загрязнены. Поскольку алюминий пайке не поддаётся, дырявый теплообменник придётся менять. Замену радиатора печки Daewoo Nubira желательно производить на новое устройство, на разборке печку в хорошем состоянии не найти. Если вам предложат отремонтировать такой радиатор, всегда спрашивайте стоимость. Для такой работы используется дорогостоящее оборудование, и может оказаться, что дешевле будет купить новый радиатор.
Если проблем с подтеканием нет, необходимо выполнить помывку радиатора с использованием компрессора и очистительной жидкости. Раствор лимонной кислоты – самый простой и доступный её аналог, но он не обладает эффективностью, присущей профессиональным составам, используемым для промышленной чистки канализационных труб. Но здесь нужно помнить, что если ваш радиатор уже подвергался ремонту с целью ликвидации течей, то при такой промывке герметик, скорее всего, отслоится, обнажив скрытые ранее дырки, и тогда радиатор придётся выбросить.
Отремонтированный или новый радиатор устанавливаем на штатное место и производим сборку в обратном порядке. Описанный выше алгоритм, как заменить печку, годится и для Daewoo Nubira 2, а сам радиатор подходит и от Lanos.
Салон
Начнем с задней части салона. Задний диван у Nubira довольно широкий и с высокими спинками. Места на заднем сиденье вполне хватит для трех человек.
За ним расположена полка с двумя динамиками и дополнительным стоп-сигналом.
Несмотря на то, что при изготовлении автомобиля использовались не самые дорогие материалы, чувствуешь себя в салоне уютно и комфортно.
В некоторых местах обшивка потолка через время трескается, но характерно это для 15 – 20 летних Nubira. И не забывайте, что это машина эконом класса.
При росте в 190 см можно комфортно находится на заднем сиденье, при этом колени не будут упираться в спинку водительского сиденья даже если последнее будет отодвинуто под такой же рост.
Для курящих пассажиров предусмотрена пепельница.
Спереди, также, как и сзади довольно просторно и много места.
Удобно сидеть и водителю, и пассажиру. У водителя все находится под рукой. Обзорность у Daewoo Nubira также хорошая. Приборная панель выполнена в стиле 90-х годов, на ней расположены самые необходимые приборы и индикаторы.
Подрулевые переключатели слева и справа расположены удобно и тянуться до них не нужно.
За левым выключателем расположена кнопка противотуманок, а за правым электрорегулировка фар, которая, кстати, работает без нареканий много лет.
На центральной консоли расположена магнитола, блок управления кондиционером и печкой, прикуриватель, пепельница и держатель для двух подстаканников который выдвигается.
Nubira оснащена электрозеркалами с подогревом и электрорегулировкой. Также имеется мини подлокотник с отделениями для мелочевки.
В уголках дверей размещены высокочастотные динамики. В самих дверях среднечастотные. Магнитола басов почти не выдает. Многие ставят саббуфер, чтобы решить данную проблему.
Климат – контроль (если он установлен) отлично справляется со своей задачей. Он однозонный, консоли и воздуходувы хорошо выполняют свои функции. Направлять воздушные потоки можно куда угодно и это плюс.
Управление электронное, кнопочное, хорошо продуманное, а поэтому удобное.
Бардачок для хранения личных вещей имеет свой замок. Размер бардачка средний, но вполне достаточный. Торпеда довольно массивная и широкая.
Пластик не дешевый, не скрепит, сохраняется очень долго. Даже покупая 20 летнюю машину, вряд ли у вас появятся к нему замечания.
В водительском козырьке зеркало отсутствует и это минус, зато у пассажира справа оно есть. Передняя подсветка салона разделена по секторам.
В целом салон довольно таки просторный, светлый, приятный и уютный. Для автомобиля такого класса больше и не требовалось.
Работа кондиционера в летнее время нареканий не вызывает.
Слева от водителя удобно располагаются рычаги открытия бензобака и багажника.
Печка работает четко, прогрев салона осуществляется за 3-4 минуты при минус 15-20С. Конечно, при условии, что она исправна. За 20 лет службы печка ремонтируется или меняется 3-4 раза. В среднем 1 раз в 5 лет.
В целом комплектация у Nubira очень даже неплохая.
Особенности работы радиатора отопителя Daewoo Nubira
Плохо дуть или греть печка Daewoo Nubira может начать и значительно раньше, всё зависит от того, где произведён автомобиль. Но ещё большее значение приобретает качество обслуживания. Если автовладелец с целью экономии использует летом воду вместо антифриза, накипь на внутренних стенках трубок будет образовываться с удвоенной скоростью. Речь идёт не о дистиллированной воде (она не бесплатна), а о взятой из водопровода или открытых источников – в неочищенной воде всегда содержится огромное количество минеральных и органических осадков.
На Nubira радиатор выполнен из алюминия. Считается, что этот металл не ржавеет, но на самом деле это не так, просто скорость окислительных процессов здесь как минимум на порядок ниже, чем у железа и его соединений. Использование воды вместо тосола ускоряет этот процесс, так что риск образования накипи усугубляется вероятностью поражения радиаторных сот ржавчиной, разъедающей металл изнутри.
Впрочем, течь радиатора выявляется довольно быстро – по наличию характерного приторно-сладковатого запаха и луж на полу в районе водительского сиденья.
Замена радиатора печки
Если забитый радиатор можно попытаться вылечить промывкой, то дырявый ремонту не подлежит и требует замены. В любом случае для уточнения диагноза потребуется снятие отопителя, а это на Nubira операция довольно трудоёмкая. Достаточно сказать, что на СТО её обычно выполняет сразу два мастера, и на это у них уходит от двух до четырёх часов времени. Самостоятельное снятие отопителя вместе с обратным монтажом может занять до нескольких дней, так что если печка Daewoo Nubira не греет – имеет смысл подумать, а не проще ли отдать машину в сервисную мастерскую, расставшись при этом с суммой порядка 2000-3000 рублей?
Но поскольку наш народ в массе мастеровитый, а такие деньги лишними не будут никому, то многие всё же берутся за ремонт отопителя своими силами, невзирая на сложности.
Процедура замены радиатора (как вариант – вентилятора или моторчика) печки Nubira состоит из трёх этапов:
- снятия торпедо;
- демонтажа радиатора, его диагностики и ремонта;
- замены или установки отреставрированного радиатора.
Рассмотрим эти этапы по отдельности.
Скачивание книги
После успешного прохождения платежа (любым способом) и возврата в магазин KrutilVertel с сайта платежной системы Вы попадаете на страницу успешной оплаты:
Купленная Вами книга будет находиться в Вашем личном кабинете, откуда ее всегда можно будет скачать.
Обратите внимание, что после совершения оплаты, Вам необходимо вернуться обратно с сайта платежной системы на сайт KrutilVertel. В случае, если по каким либо причинам Вы не вернулись обратно на сайт и закрыли вкладку платежной системы с сообщением про успешное прохождение платежа, сообщите нам об этом — мы вышлем Вам письмо в котором будет указан доступ для скачивания книги
В случае, если по каким либо причинам Вы не вернулись обратно на сайт и закрыли вкладку платежной системы с сообщением про успешное прохождение платежа, сообщите нам об этом — мы вышлем Вам письмо в котором будет указан доступ для скачивания книги.
Оплата через PayPal
После выбора оплаты через PayPal запустится платежная система PayPal, где требуется выбрать способ оплаты банковская карта или аккаунт PayPal.
Если у Вас уже есть аккаунт PayPal, то Вам необходимо зайти в него и осуществить платеж.
Если у Вас нет аккаунта в PayPal, и Вы хотите оплатить с помощью банковской карты через PayPal, Вам необходимо нажать на кнопку «Create an Account (Создать аккаунт)» — на рисунке показано стрелочкой.
После чего PayPal предложит вам выбрать Вашу страну и указать данные кредитной карты.
После указания данных, необходимых для осуществления платежа, надо нажать на кнопку «Pay Now (Оплатить)».
Блок под капотом
Находится рядом с аккумуляторной батареей под защитной крышкой.
Пример исполнения на фото

Общая схема

Обозначение
| 1 | 30А Главный предохранитель для предохранителей 1 — 5 |
| 2 | 30А Электродвигатель нагнетателя воздуха |
| 3 | 20А Вентилятор охлаждения, первая скорость |
| 4 | 60А ABS, ESP |
| 5 | 30А Замок зажигания 2 |
| 6 | 30А Замок зажигания 1 |
| 7 | 20А Стеклоподъемники |
| 8 | 20А Вентилятор охлаждения, вторая скорость |
| 9 | 10А Не используется |
| 10 | 15А Не используется |
| 11 | 20А Не используется |
| 12 | 15А Аварийная сигнализация |
| 13 | 25А Не используется |
| 14 | 30А Не используется |
| 15 | 30А Обогрев заднего ветрового стекла |
| 16 | 20А DIS |
| 17 | 15А Система впрыска |
| 18 | Резерв |
| 19 | 15А Топливный насос |
| 20 | 10А Правый наружный свет (ы) |
| 21 | 10А Левый наружный свет (ы) |
| 22 | 15А Электронный блок управления |
| 23 | 20А Стоп-сигналы |
| 24 | 20А Электропривод сидений |
| 25 | 10А Правый дальний свет |
| 26 | 10А Правый ближний свет |
| 27 | 10А Зеркало с подогревом |
| 28 | 15А Центральный замок |
| 29 | 15А Антенна |
| 30 | 10А Левый дальний свет |
| 31 | 10А Левый ближний свет |
| 32 | 10А Электропривод зеркал |
| 33 | 10А Кондиционирование воздуха |
| 34 | 25А Фары |
| 35 | 10А Сигнал |
| 36 | Резерв |
| 37 | 15А Противотуманные фары |
| R1 | Фары |
| R2 | Топливный насос |
| R3 | Передние противотуманные фары |
| R4 | Вентилятор охлаждения, первая скорость |
| R5 | Задние фонари |
| R6 | Сигнал |
| R7 | |
| R8 | Кондиционирование воздуха |
| R9 | Вентилятор охлаждения, вторая скорость |
| R10 | Замок зажигания 2 |
| R11 | Обогрев заднего ветрового стекла |
| R12 | Замок зажигания 1 |
| D | Диод — кондиционер |
Трансмиссия
- Снять вилку сцепления Daewoo Nubira своими руками
- Замена воздушного фильтра Daewoo Nubira
- Как поменять датчик скорости Daewoo Nubira
- Как заменить диск сцепления Дэу Nubira
- Установка коробки передач Daewoo Нубира
- Ремонт крестовины карданного вала Daewoo Нубира своими руками
- Как поменять масло в коробке передач Дэу Нубира своими руками
- Как заменить масляный фильтр Дэу Нубира
- Как заменить наружную гранату Дайво Nubira своими руками
- Снять педаль сцепления Дайво Нубира своими руками
- Как заменить привод спидометра Daewoo Nubira
- Как заменить пыльник внутреннего шруса Дайво Nubira
- Ремонт пыльника на гранате Daewoo Nubira своими руками
- Как заменить пыльник наружного шруса Дайво Nubira
- Как заменить рычаг переключения передач Дэу Нубира
- Замена салонного фильтра Дэу Nubira своими руками
- Заменить сальник заднего моста Дайво Нубира
- Как поменять сальник коробки передач Дайво Нубира
- Как заменить сальник кпп Дайво Nubira своими руками
- Как заменить сальник полуоси Дэу Нубира
- Как заменить сальник привода Дайво Nubira
- Поменять сальник редуктора Дэу Нубира своими руками
- Как поменять топливный фильтр Дайво Нубира своими руками
- Заменить трос сцепления Daewoo Нубира своими руками
- Поменять фильтр акпп Daewoo Nubira
- Как поменять фильтр двигателя Дайво Nubira своими руками
- Как заменить фильтр кондиционера Дайво Нубира своими руками
- Как снять цилиндр сцепления Дэу Нубира
Daewoo Nexia до 2008. Руководство по обслуживанию и ремонту

- Currently 3.55/5
- 1
- 2
- 3
- 4
- 5
3.5 из 5 (82 )
Автомануал по ремонту Daewoo Nexia является оцифрованной копией бумажного руководства. Электронная версия, загруженная в планшет или телефон, будет всегда под рукой во время обслуживания и ремонта автомобиля. Вы можете бесплатно скачать книгу по ремонту Daewoo Nexia в формате pdf напрямую с сайта.
Перед использованием автомануала проверьте соответствие года выпуска и двигателя автомобиля.
Формат: pdf
Размер: 46.7 Mb
Файл скачан 664 раз(а)
Где находится файл?
Книга Daewoo Nexia до 2008. Руководство по обслуживанию и ремонту находится на нашем сервере в формате pdf.
Хранилище надежно изолировано от вирусных угроз, обладает высокой пропускной способностью и круглосуточно обеспечивает возможность бесплатной загрузки файла
Как скачать книгу?
Если у вас возникнут трудности — воспользуйтесь формой обратной связи. Мы постараемся решить проблему и ответить вам как можно быстрее.
Это бесплатно?
Любой наш посетитель может бесплатно скачать книгу Daewoo Nexia до 2008. Руководство по обслуживанию и ремонту. Для этого не требуется никаких дополнительных действий, кроме непосредственной загрузки файла.
Подробнее о том, как скачать книгу по ремонту Daewoo Nexia бесплатно.
Информационные значки
Значки на приборной панели имеют разное значение. Цвет индикатора позволяет определить, есть ли ошибки на панели приборов, а изображения указывают на конкретный элемент:
- Авто с гаечным ключом. Говорит о неполадках двигателя. Скорее всего, проблема связана с коробкой передач.
- Авто и замок. Этот значок горит красным цветом и, следовательно, свидетельствует о серьезных неполадках: машина не видит ключ, и ее не получится завести. Значок должен гореть только когда ТС закрыто.
- Открытая дверь. Красный значок на панели, свидетельствующий об открытии дверей. Если все они закрыты, то проблема скрывается в дверных контактах.
- Скользкая дорога. Желтый индикатор, на котором изображено скольжение ТС, свидетельствует о скользкой дороге, обнаруженной системой стабилизации.
- Желтый гаечный ключ. Информационный сигнал, говорящий о том, что машина нуждается в техосмотре.
Советы по самостоятельному ремонту
Если ремонт «Дэу Нексия» предполагает работу с двигателем, то необходимо отключить провод батареи аккумулятора, что поможет избежать коротких замыканий.
Если необходимо удалить воздухоочиститель, после завершения процедуры следует закрыть впускные трубопроводы. Таким образом можно предотвратить попадание предметов, которые могут привести к поломке двигателя «Дэу Нексия».
Самостоятельная установка замка зажигания в данном автомобиле производится следующим образом: предварительно необходимо удалить болты с саморезными головками, для чего нужно приготовить молоток и зубило. Далее снимается рулевая колонка и откручивается болт крепления выключателя. Затем в обратном порядке устанавливается новый выключатель.
Если вы хотите сэкономить средства и при этом чувствуете в себе необходимую уверенность, то можете осуществить самостоятельный ремонт «Дэу Нексия». В этой ситуации вам понадобятся нужные инструменты, определенное количество времени и соответствующая информация, которую можно получить в данной статье.
Какое масло требуется использовать для двигателя Daewoo Nubira
Оригинальное
Владельцы Daewoo Nubira предпочитают моторные масла таких проверенных брендов, как Kixx, Valvoline, Shell, Mannol, Castrol, Liqui Moly и т. д. Еще можно остановить выбор на отечественных маслах Роснефть, G-Energy и Лукойл
Выбирая масло, не менее важно учитывать вязкость SAE исходя из преимущественно тех погодных условий, в которых эксплуатируется автомобиль. Например, для зимнего использования подойдет SAE 0W-30, 0W-40 или 5W-30, а для летней эксплуатации рекомендуется 20W-40 или 25W-50
Если же автомобиль ездит круглый год, тогда следует остановиться на всесезонном масле с параметрами SAE 10W-30, 10W-40 или 5W-40.
Неоригинальное
Помимо завода-изготовителя, для выбора подходящего смазочного материала не менее важно учитывать допуск API для более старых машин, а также моделей поздних годов. Для первых подойдет API-SG, а для вторых – API – SH
Например, при эксплуатации в 2020 году автомобиля Daewo Nubira J100 1997 года выпуска рекомендуется использовать всесезонную полусинтетику с параметрами SAE 10W-40 и APIP-SG. Что касается более свежих экземпляров, выпущенных в 1999 году, в данном случае подойдет полусинтетическое масло SAE 5W-30 с допуском API-SH. Ниже представлены варианты лучших моторных масел для Daewoo Nubira.
- Elf Evolution 900 NF 5W-40
- Castrol Edge A3/B4 0W-40
- Mobil Super 1000 X1 15W-40
- Castrol Magnatec A3/B4 10W-40.
Другие статьи:
Моторное масло для двигателя BMW F10
Моторное масло для двигателя Nissan March
Моторное масло для двигателя Ford Kuga
Моторное масло для двигателя Toyota Spacio
Итог
Если вы думаете брать или не брать Дэу Нубира, то ответ однозначный – брать. Корейцы сделали действительно надежный и не дорогой автомобиль. На вторичном рынке Daewoo Nubira можно купить за 120 — 160 тыс. рублей, в зависимости от состояния и комплектации.
Только при покупке очень пристальное внимание обратите на кузов, он может быть гнилым. Проверьте задние стаканы, арки, низ дверей и пороги
Ходовая и подвеска в автомобиле не капризные и очень дешевые в обслуживании.
Двигатель масла не берет, при условии, что его внутренние узлы и детали исправны, с коробкой передач проблем, как правило, нет.
В своем классе Daewoo Nubira по многим показателям занимает лидирующие позиции и это место он по праву заслужил.
Выводы
Как видим, заменить подрулевой переключатель на Daewoo Nexia довольно просто. При этом после выполнения работы есть смысл отремонтировать снятую деталь, приобретя отдельно медные полоски контактов и впаяв их вместо тех, что вышли из строя.
Некоторые автолюбители пытаются самостоятельно изготавливать новые контактные площадки, используя медный лист большей толщины, однако на практике такая доработка имеет мало смысла, поскольку самодельные контакты не всегда имеют должную упругость, изгибаются и выходят из строя быстрее, нежели готовые заводские детали. Также стоит помнить о том, что оригинальные контакты производства компании Daewoo не продаются, поскольку производитель настаивает на полной замене детали в сборе. Тем не менее, в случае самостоятельного ремонта переключателя вы получите запасной исправный узел и сможете, в случае последующей поломки, избежать дополнительных трат.




























