Ведущие производители очков для вождения автомобиля
Наиболее востребованы у потребителей:
- Cafa France. Французский бренд, появившийся в середине прошлого века. Он известен использованием инновационных технологий и широким ассортиментом.
- Babilon. Итальянская марка, которая помимо очков выпускает одежду и аксессуары.
- Crisli. Большая часть продукции этого бренда выпускается на китайских заводах. Но её качество остаётся на самом высоком уровне.
- Matrix. Бренд является частью одной из крупнейших в мире корпорации – YINGCHANG. Она имеет собственную лабораторию, что позволяет создавать надёжные, качественные и адаптированные под европейцев очки.
- Autoenjoy. Компания производит очки с высокотехнологичными линзами, которые способны защитить глаза даже от травм.
- Graffito. Под этой маркой выпускаются стильные и модные модели в разных оправах.
- SP Glasses. Компания производит очки разных назначений. Но все модели отличаются высоким качеством, а потому пользуются большим спросом.
- Matsuda. Японская марка была основана во второй половине прошлого века. Для неё характерно создание моделей, которые могут претендовать на звание настоящих объектов искусства.
Варианты тюнинга мотора

Впускной коллектор Borman Reciver Intake
Классический атмосферный тюнинг для движков Ланос/Нексиа обычно заключается в улучшении входного тракта. Существует готовое решение – впускной коллектор спортивного типа Borman Reciver Intake стоимостью около $ 400. Этот ресивер может использоваться отдельно для улучшения динамики на низах, уверенного маневрирования при обгонах и добавления мощности на высоких оборотах. При турбировании силового агрегата в комплектацию ресивера добавляется увеличенная топливная рампа стоимостью $ 100.
Таким образом, мотор A15SMS изначально соответствует регламенту Евро-3. Движок развивает момент 130 Нм и мощность 86 л. с. при объеме камер сгорания 1,5 л. Восьмиклапанная головка уступает в экономичности 16 клапанному аналогу, зато компактнее, надежнее и проще в конструкции.
Автоновости
Ford Escort RS2000 1979 года от Ричарда Хаммонда и команды The Smallest Cog
Аукцион классических автомобилей предлагает специальный Ford Escort RS2000 Mk2 1979 года выпуска.
20 Сентября 2021

Нагнетатель почти вдвое увеличивает заводскую мощность.
16 Сентября 2021

Наденьте наушники и увеличьте громкость.
14 Сентября 2021

Новый Ford Focus ST Edition получает дополнительные трековые характеристики
Новый Ford Focus ST Edition может похвастаться модернизацией шасси и особыми стилистическими дополнениями за 3,6 млн рублей.
25 Августа 2021

Все они созданы по мотивам легенд «24 часов Ле-Мана».
23 Августа 2021

И эти покупатели тратят серьезные деньги.
12 Августа 2021

Четыре цвета не будут доступны для 2022 Bronco.
10 Августа 2021

Когда это случилось, они ехали к дилерам.

И снова крыша вызывает беспокойство.

Самый красивый кроссовер Ford вытеснит хэтчбеки
Определенно нет недостатка в внедорожниках и кроссоверах Ford. Если вы горожанин, то есть Ford EcoSport. Любитель активного.

На этой неделе электромобиль будет выставлен на благотворительный аукцион.

Южная Корея готовит соперника Ford Bronco
У южнокорейского автопроизводителя SsangYong были некоторые проблемы на внутреннем рынке, несмотря на то, что он является четвертым по.

Окончательная разработка происходит прямо сейчас.

Первый электрический внедорожник Ford уже меняет правила игры.

Черно-белая окраска напоминает GT40 1966 года, победившего в Ле-Мане.

Идея возникла из неожиданного источника.

Он также обладает невероятной производительностью.

275 000 фанатов проголосовали за окончательный дизайн и название этой ограниченной серии Puma ST.

Fiesta ST превратилась в убийцу VW Golf GTI.

Победивший дизайн поступит в продажу в конце этого года.
7 495 374 77 00
Технические характеристики A15SMS 1,5 л/80-86 л. с.
Изначально ДВС разрабатывался под Chevrolet Lanos. Маркировка A15SMS в двигателе полностью информативна:
- A – рядная схема двигателя;
- 15 – объемы камер сгорания 1,5 л;
- S – схема механизма газораспределения SOHC с одним верхним распредвалом;
- M – система питания типа MPI;
- S – степень сжатия в диапазоне 9,5 – 10 единиц.

Конструкция A15SMS
Технические характеристики A15SMS собраны в специальную таблицу:
| Изготовитель | Chevrolet |
| Марка ДВС | A15SMS |
| Годы производства | 1997 – 2015 |
| Объем | 1498 см3 (1,5 л) |
| Мощность | 59-63 кВт (80-86 л. с.) |
| Момент крутящий | 123 Нм (на 3200 об/мин) 130 Нм (на 3400 об/мин) |
| Вес | 117 кг |
| Степень сжатия | 9,5 |
| Питание | инжектор |
| Тип мотора | рядный бензиновый |
| Зажигание | ктрамблер |
| Число цилиндров | 4, расточены внутри блока без гильз |
| Местонахождение первого цилиндра | ТВЕ |
| Число клапанов на каждом цилиндре | 2 |
| Материал ГБЦ | сплав алюминиевый |
| Впускной коллектор | дюралевый |
| Выпускной коллектор | литой чугунный |
| Распредвал | 5 опор, литье, чугун |
| Материал блока цилиндров | чугун |
| Диаметр цилиндра | 76,5 мм |
| Поршни | дюралевые, отверстие пальца смещено на 0,7 мм к задней стенке |
| Коленвал | литой чугунный, 8 противовесов, 5 опор |
| Ход поршня | 81,5 мм |
| Горючее | АИ-92 |
| Нормативы экологии | Евро-3 |
| Расход топлива | трасса – 5,4 л/100 км смешанный цикл 7,6 л/100 км
город – 9,8 л/100 км |
| Расход масла | максимум 0,6 л/1000 км |
| Какое масло лить в двигатель по вязкости | 5W30, 5W40, 0W30, 0W40 |
| Какое масло лучше для двигателя по производителю | Liqui Moly, ЛукОйл, Роснефть |
| Масло для A15SMS по составу | синтетика, полусинтетика |
| Объем масла моторного | 4,5 л |
| Температура рабочая | 95° |
| Ресурс ДВС | заявленный 250000 км реальный 350000 км |
| Регулировка клапанов | гидрокомпенсаторы |
| Система охлаждения | принудительная, антифриз |
| Объем ОЖ | 10,7 л |
| Помпа | с пластиковой крыльчаткой |
| Свечи на A15SMS | BCPR6ES от NGK или отечественные АУ17ДВРМ |
| Зазор свечи | 1,1 мм |
| Ремень ГРМ | Gates, ширина 22 мм, ресурс 200000 км пробега |
| Порядок работы цилиндров | 1-3-4-2 |
| Воздушный фильтр | Nitto, Knecht, Fram, WIX, Hengst |
| Масляный фильтр | с обратным клапаном |
| Маховик | с посадочным диаметром сцепления 200 мм либо 215 мм |
| Болты крепления маховика | М12х1,25 мм, длина 26 мм |
| Маслосъемные колпачки | производитель Goetze |
| Компрессия | от 13 бар, разница в соседних цилиндрах максимум 1 бар |
| Обороты ХХ | 750 – 800 мин-1 |
| Усилие затягивания резьбовых соединений | свеча – 31 – 39 Нм маховик – 62 – 87 Нм
болт сцепления – 19 – 30 Нм крышка подшипника – 68 – 84 Нм (коренной) и 43 – 53 (шатунный) головка цилиндров – три стадии 20 Нм, 69 – 85 Нм + 90° + 90° |
Лучшие антибликовые очки для водителей
Модели этого типа относятся к очень востребованным на рынке. Они представлены в линейках разных производителей, но только лучшие варианты попали в рейтинг.
Cafa France CF8505
Стильные очки Cafa France CF8505
Мне нравится22Не нравится3
Стильные очки классической формы с овальными линзами серого цвета. Оправа выполнена из пластика, а сама модель имеет ободковую конструкцию. Для линзы производитель выбрал тройное покрытие: тонирующее, антибликовое, УФ-фильтр.
Ушки сделаны из прочного металлического сплава, усиленного несколькими рёбрами жёсткости.
Плюсы и минусы
хорошо фиксируются;
прозрачные линзы;
эффективная защита глаз;
отсутствие искажений в пасмурную погоду.
сложно очищаются линзы;
подходят не для всех типов лица.
Средняя стоимость – 1300 рублей.
Smart View Elite
Модель Smart View Elite
Мне нравится3Не нравится4
Модель нетривиальной формы и с качественной линзой. Корпус сделан из пластика чёрного цвета. Линза имеет несколько фильтров и выполнена в жёлтом оттенке.
Производитель тщательно продумал дужку очков. Она обтекаема и плотно, но аккуратно обхватывает голову. Модель поставляется без салфеток и чехла для хранения, что обусловлено её низкой ценой – 400 рублей.
Плюсы и минусы
доступность
высокое качество;
эффективное снижение нагрузки на глаза.
слабые крепления на оправе;
отсутствие съёмных стёкол;
бедная комплектация.
Умные очки “Анти-блик” для водителей
“Анти-блик”
Мне нравится7Не нравится3
Стильные очки с мощной, но лёгкой оправой. Линзы выполнены в жёлтом оттенке и имеют несколько фильтров. Они успешно отсекают синий спектр и обеспечивают защиту для глаз в разных ситуациях.
Линзы и оправа выполнены из ПВХ. Он обладает ударопрочными свойствами, поэтому модель долговечна и надёжна.
Плюсы и минусы
доступная цена 400 рублей;
хорошие характеристики;
эффективность.
бедная комплектация;
давящие дужки.
SPG Comfort AD016
Безрамочные очки SPG Comfort AD016
Мне нравится5Не нравится3
Безрамочные очки с линзами из пластика жёлтого цвета. Оправа достаточно тонкая и сделана из металла. Производитель обеспечил тройное покрытие – тонирующее, антибликовое, УФ.
Очки имеют ударопрочные свойства и надёжно крепятся на переносице. Они выделяются полуободковой конструкцией.
Плюсы и минусы
хорошее качество;
оптимальная стоимость – 1400 рублей;
доступность во всех торговых точках.
слабые крепления на носовых опорах;
неудобная посадка.
GRAND VOYAGE 1701
Популярный вариант GRAND VOYAGE 1701
Мне нравится6Не нравится3
Популярный вариант с овальными линзами, выполненными в 2 оттенках: жёлтом и синем. Оправа серебристого цвета из металла тонкая и не снижает угол обзора за рулём. Ободковая конструкция удобна и не сдавливает голову даже при длительном ношении.
Очки эффективны и защищают от бликов, а также нормализуют состояние глазных тканей.
Плюсы и минусы
находятся в средней ценовой категории – 1300 р;
хорошо показывают себя в тёмное время суток;
не подсвечивают с боков.
сильно давят на переносицу;
плохо сидят;
не всегда нейтрализуют блики.
Маркировка по типу ламп
Излучатели светового потока в фарах могут быть одного из следующих типов:
- Обычные лампы накаливания, в настоящее время не применяющиеся;
- Галогенные лампы, где нить накала работает в среде особых газов, резко сокращающих испарение материала в ходе работы и позволяющих ей работать с существенно большей подводимой мощностью длительное время без снижения характеристик;
- Так называемый ксенон, то есть газоразрядные лампы, где источником света является не нить накала, а газовый разряд высокого напряжения, генерируемого специальным электронным блоком розжига, такие лампы позволяют ещё больше увеличить мощность светового потока;
- Лампы, использующие твердотельные излучатели на основе светодиодов, наиболее современное техническое решение, позволяющее сформировать мощный световой поток при минимальном расходовании энергии, а также реализовать матричные источники света;
- Лазерные лампы, где свет излучается люминесцентной пластиной, возбуждаемой потоком твердотельного лазера.
Все эти источники также маркируются на корпусах оптики, поскольку по требованиям безопасности в фаре может быть использована только та лампа, для которой она предназначена. Все попытки замены источника света на более мощный альтернативный, даже подходящий по установочным размерам, являются незаконными и опасными.
Расшифровка светодиодных фар
При расчёте светодиодных источников света на корпусе фары маркируются буквы LED, что означает Light-Emitting Diode, светоизлучающий диод.
При этом фара может быть параллельно промаркирована, как предназначенная под обычные галогенные лампочки, то есть HR, HC, HCR, что может вносить определённую путаницу.
Однако это совершенно разные световые приборы и ставить светодиодные лампы в галогенные фары недопустимо. Но это никак не регулируется в существующем техрегламенте, что позволяет рассматривать такие фары в спорных случаях как галогенные. Отличительная маркировка чётко определена только для ксенона.
Какая маркировка должна быть на фарах для ксенона
Газоразрядные излучатели, то есть ксенон, имеют вполне определённый тип отражателей и дефлекторов или линз, что отмечается буквой D в маркировке.
Например, DC, DR, DC/R, соответственно для фар ближнего света, дальнего и комбинированных. Взаимозаменяемости тут в отношении ламп нет и быть не может, все попытки установить ксенон в галогенные фары жёстко наказываются, поскольку ослепление встречных водителей ведёт к тяжёлым ДТП.
Зачем нужны наклейки для ксеноновых фар
Иногда наклейки вместо маркировок на стекле или пластиковом корпусе используют производители оптики. Но встречается такое достаточно редко, серьёзные изготовители наносят коды в процессе отливки деталей, так гораздо надёжней в случае судебных разбирательств.
Но иногда автомобили дорабатываются в процессе эксплуатации, и вместо галогенных ламп освещение дорабатывается под ксенон с изменениями оптических элементов, коммутации, вмешательством в электросхему и электронику автомобиля.
Все подобные действия требуют обязательной сертификации, в результате чего и появляется наклейка, свидетельствующая о легальности подобного тюнинга. Те же действия потребуются, если автомобиль, а значит и фары, предназначался для страны с иными стандартами, которые не совпадают с действующим транспортным регламентом.
Иногда подобные наклейки подделываются. Это преследуется по закону и достаточно легко вычисляется при инспекции автомобиля, что влечёт за собой запрет на эксплуатацию и наказание владельца.
Радиаторы Ford Explorer 1 (1990-1994)
ТАЙВАНЬ, трехрядный, 4.0 литра, АКПП, FOTZ8005EA
Период выпуска: 1991-1994
Ваша просьба принята!
Вы получите уведомление о поступлении товара в продажу на указанные Вами контакты
Бесплатно дополнительно упаковываем
Каждый заказ упаковывается дополнительно, в соответствии с особенностями детали.
Автомобильная оптика отправляется в картонных коробках дополнительно фиксируется внутри, и прокладывается картонными вставками в местах, где “уши” находятся близко к стенке. Наши упаковщики имеют огромный опыт и знают все нюансы для того, чтобы гарантировать доставку оптики в целости.
Кузовные запчасти упаковываются в пленку или картон и отправляются в дополнительной таре. Бамперы, капоты, суппорты радиатора и прочие крупные детали отправляются транспортными компаниями в деревянной обрешетке, ее изготавливают на складе транспортной компании. Данный вид упаковки несколько увеличивает объем груза и стоимость перевозки, но гарантирует сохранность груза.
Передние крылья, решетки бамперов, радиаторы и суппорты отправляются в паллетных бортах, которые предоставляют ТК, этот вид упаковки сравнительно недорогой и позволяет доставить кузовные детали без повреждений. Оправы туманок, кронштейны и другие мелкие детали мы упаковываем сами.
Бесплатная доставка до транспортной компании
Бесплатное почтовое оформление
Возврат в течение 14 дней после получения
Найдите нужную запчасть для Ford Explorer 1 для удобства используйте фильтр товаров. Вы можете купить запчасти для Ford Explorer 1 по низкой цене с наложенным платежом или по предоплате через Почту России, транспортные компании или курьерские службы.
Источник
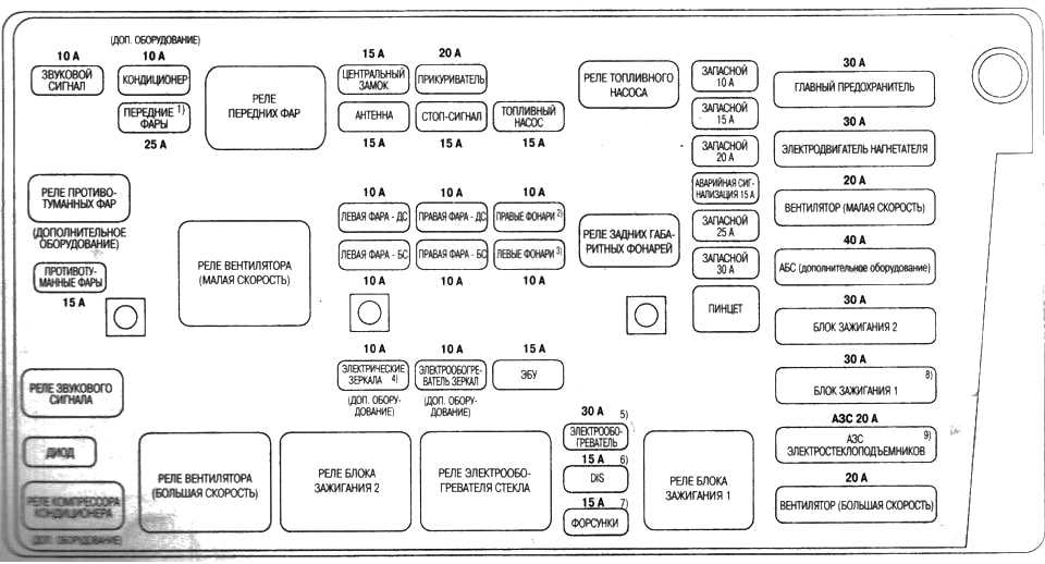
Блок под капотом
Находится рядом с аккумуляторной батареей под защитной крышкой.
Фото – пример исполнения

Назначение

Общая схема

Обозначение
| 1 | 30А Главный предохранитель для предохранителей 1 — 5 |
| 2 | 30А Электродвигатель нагнетателя воздуха |
| 3 | 20А Вентилятор охлаждения, первая скорость |
| 4 | 60А ABS, ESP |
| 5 | 30А Замок зажигания 2 |
| 6 | 30А Замок зажигания 1 |
| 7 | 20А Стеклоподъемники |
| 8 | 20А Вентилятор охлаждения, вторая скорость |
| 9 | 10А Не используется |
| 10 | 15А Не используется |
| 11 | 20А Не используется |
| 12 | 15А Аварийная сигнализация |
| 13 | 25А Не используется |
| 14 | 30А Не используется |
| 15 | 30А Обогрев заднего ветрового стекла |
| 16 | 20А DIS |
| 17 | 15А Система впрыска |
| 18 | Резерв |
| 19 | 15А Топливный насос |
| 20 | 10А Правый наружный свет (ы) |
| 21 | 10А Левый наружный свет (ы) |
| 22 | 15А Электронный блок управления |
| 23 | 20А Стоп-сигналы |
| 24 | 20А Электропривод сидений |
| 25 | 10А Правый дальний свет |
| 26 | 10А Правый ближний свет |
| 27 | 10А Зеркало с подогревом |
| 28 | 15А Центральный замок |
| 29 | 15А Антенна |
| 30 | 10А Левый дальний свет |
| 31 | 10А Левый ближний свет |
| 32 | 10А Электропривод зеркал |
| 33 | 10А Кондиционирование воздуха |
| 34 | 25А Фары |
| 35 | 10А Сигнал |
| 36 | Резерв |
| 37 | 15А Противотуманные фары |
| R1 | Фары |
| R2 | Топливный насос |
| R3 | Передние противотуманные фары |
| R4 | Вентилятор охлаждения, первая скорость |
| R5 | Задние фонари |
| R6 | Сигнал |
| R7 | |
| R8 | Кондиционирование воздуха |
| R9 | Вентилятор охлаждения, вторая скорость |
| R10 | Замок зажигания 2 |
| R11 | Обогрев заднего ветрового стекла |
| R12 | Замок зажигания 1 |
| D | Диод — кондиционер |
Что можно узнать по маркировке фар
Необходимый минимум маркируемой информации обычно включает в себя:
- свойства, тип и технологию применяемых ламп;
- определение фары по характеру её применения;
- уровень освещённости дороги, создаваемый прибором;
- название страны, разрешившей применение данной фары и утвердившей её технические условия и сертификат соответствия предъявленному на испытания образцу;
- дополнительные сведения, включающие особенности автомобилей, на которых данный световой прибор используется, дату выпуска и некоторые другие характеристики.
Не всегда маркировки унифицированы с каким-либо международным стандартом, но основная часть кодов примерно соответствует общепринятому набору аббревиатур.
Место расположения
Возможны два случая локации маркировки, на защитных стёклах оптики и на тыльной стороне пластикового корпуса фары.
Второй способ используется, когда предусмотрена возможности замены стёкол в ходе эксплуатации без выбраковки фары в сборе, хотя однозначности нет и в этом вопросе.
Иногда дополнительная информация наносится в виде наклеек. Это не так надёжно в случае возникновения юридической необходимости проверки соответствия фары установленным требованиям, тем более подделка подобных наклеек влечёт ответственность по закону.
Последствия применения фар с отклонениями от сертификата могут быть достаточно тяжёлыми.
Расшифровка сокращений
Непосредственно читаемых надписей в маркировке практически нет. Содержатся только условные обозначения, требующие расшифровки по специальным таблицам и стандартам.
Например:
- Место расположения прибора и направление его действия кодируется символами A, B, C, R и их сочетаниями вроде CR, C/R, где A означает головной или боковой свет, B – противотуманное освещение, C и R соответственно ближний и дальний свет, при совместном использовании — комбинированный прибор.
- По типу применяемого излучателя различаются кодировки буквами H или D, означающие использования классических галогенных ламп или газоразрядных соответственно, поставленные перед основной маркировкой прибора.
- Региональная маркировка имеет в своём составе букву E, иногда расшифровываемую как «европейский свет», то есть светораспределение одобренное в Европе. DOT или SAE для фар американского образца, имеющих иной по геометрии световой поток, и дополнительные символы, цифровые для точного указания региона (страны), их около сотни, а также местные или международные стандарты качества, которых данная страна придерживается, обычно общемировые ISO.
- Обязательно маркируется сторона движения, принятая для данной фары, обычно стрелкой, указывающей вправо или влево, при этом американский стандарт, не предусматривающий ассиметрию светового пучка, такой стрелки не имеет или присутствуют обе сразу.
- Далее указывается менее существенная информация, страна-изготовитель светового прибора, наличие линз и отражателей, применяемые материалы, класс по силе светового потока, углы наклона в процентах для нормального направления потока ближнего света, значок обязательной омологации типа.
Вся информация для расшифровки занимает значительный объём, что усложняется наличием внутренних стандартов у изготовителей. Наличие подобных уникальных маркировок может позволить судить о качестве фары и принадлежности её к одному из ведущих производителей.
На какие автомобили устанавливался

Вначале мотор, созданный конструкторами Chevrolet, ставился на автомобиль Ланос. Затем двигатель стали устанавливать и на другие модели.
- Седан Ланос — преёмник Шевроле.
- Хэтчбек и седан Нексию.
- Переднеприводный автомобиль С-класса Нубиру с разными типами кузова.
На Деу Нексиа A15SMS ставили только с 2008 года, когда был проведён рестайлинг, и экологические нормы предыдущих моторов не дотягивали до стандарта Евро-3. А на новом двигателе изменены некоторые элементы стандартной конструкции, и он полностью подходит.
Также гораздо позднее он ставился в Опель Кадетт Е, носивший разные названия (маркетинговый ход).
Как выбрать качественную альтернативную оптику
При выборе фар доверяйте только проверенным производителям. Список некоторых из них мы приведем ниже.
При покупке обязательно достаньте фару, осмотрите ее. Как правило, на корпусе фары нанесен номер. Используя его, можно найти информацию о производителе фары в интернете
Обратите внимание, наименование производителя часто наносится на стекло
Потрясите немного фару, это позволит понять, хорошо ли закреплены внутренние детали. Дребезжать ничего не должно. Если на фаре не указан производитель и ни один указанный номер не позволяет его идентифицировать, скорее всего, это китайская подделка плохого качества, не имеющая сертификации. Помните, что китайская подделка может лежать в упаковке любого производителя, даже в оригинальной. Недобросовестные продавцы, одержимые желанием заработать, могут пойти и на такие хитрости. Будьте бдительны!
Если фара имеет механический корректор, покрутите его. Тем самым вы сможете проверить его работоспособность, увидев отклонение отражателя.

А теперь обещанный обзор производителей неоригинальной оптики, наиболее часто встречающихся в продаже.
Оптика высокого качества поставляется в магазины от производителей Hella (Германия), Dectane GmbH (Германия), Magneti Marelli (Италия). Цены на данную оптику немного ниже, чем цены на оригинал, качество — как минимум не хуже.
Оптика хорошего качества поступает в продажу от производителей Depo (Тайвань), Tyc (Тайвань). На оптику от этих производителей цены значительно ниже по сравнению с оригиналом. Многие автолюбители и профессионалы считают детали данных брендов лучшими по критерию «цена-качество».
Оптику среднего качества производят компании Eagle Eyes (Китай), Sonar (Тайвань). Однако качество данных продуктов стремительно улучшается и в ближайшее время сможет составить конкуренцию другим производителям.
К оптике плохого качества можно отнести китайских производителей, которые не наносят никакие маркировки на свою продукцию.
Также встречаются компании, которые закупают готовые детали и переупаковывают их под своим брендом. Поставщиками для них являются, в основном, китайские и тайваньские производители (хотя присутствуют и европейские бренды типа Magneti Marelli или Klokkerholm). К таким компаниям относятся, в частности, «Signeda» и «Polcar». Среди ассортимента этих брендов можно встретить запчасти как хорошего, так и плохого качества.
Вывод:
Существуют разные производители неоригинальной оптики. Главное их различие в качестве выпускаемой продукции. Большинство производителей изготавливает детали хорошего качества. Однако можно встретить и низкокачественные подделки.
Помните, что деталь, не имеющая опознавательных знаков для идентификации ее производителя, с высокой долей вероятности является некачественной подделкой.
При выборе альтернативной оптики не лишним будет также уточнить, имеет ли ее производитель необходимые сертификаты и разрешения.
Модуль ChipTuningPRO Daewoo ITMS- 6 F/IEFI‑ 6
После оплаты модуля для ChipTunihgPro v. 7 необходимо сформировать запрос на активацию лицензии, меню «Помощь — Активировать дополнительные модули» в CTPro. Подробнее об этом читайте здесь.
Чип-тюнинг Daewoo
Найдите специалиста по чип-тюнингу
Сделайте чип-тюнинг у проверенного специалиста с выдачей сертификата и возможностью манибэка.
АДАКТ против удаления корректно работающего катализатора. Узнайте про возможные последствия для автомобиля.
На малолитражных ДВС без турбины мощностной тюнинг не будет эффективен. Что даст прибавка в 5–10 л. с (результат на Нексии 1.6, 16 кл)? В городском потоке от такого прироста нет никакого смысла, здесь важнее изменение динамических качеств — прибавка тяги с низов, устранение рывков, провалов мощности, улучшение работы мотора с кондиционером. По этой же причине нет графиков со стенда.
Хочу чипануть сам, какую прошивку выбрать в интернете?
Мы не рекомендуем прошивать авто самостоятельно. Технически это не самая сложная процедура, но важнее другое — качество прошивки и поддержка калибровщиков. Если вы используете версии непроверенных компаний, возникнут проблемы с обновлением и решением возможных проблем (индивидуальных корректировок) Также необходимо обязательно выполнить диагностику ДВС и датчиков.
Какие гарантии вы даете?
Наши партнеры предлагают 10 и более дней на тест-драйв тюнинговой прошивки с возможностью возврата денег. Плюс вам выдадут индивидуальный сертификат. Он подтверждает, что прошивка Дэу официальная и сделана опытными калибровщиками.
Записывайтесь на чип-тюнинг от АДАКТ к представителю в своем городе.
На малолитражных ДВС без турбины мощностной тюнинг не будет эффективен. Что даст прибавка в 5–10 л. с (результат на Нексии 1.6, 16 кл)? В городском потоке от такого прироста нет никакого смысла, здесь важнее изменение динамических качеств — прибавка тяги с низов, устранение рывков, провалов мощности, улучшение работы мотора с кондиционером. По этой же причине нет графиков со стенда.
Хочу чипануть сам, какую прошивку выбрать в интернете?
Мы не рекомендуем прошивать авто самостоятельно. Технически это не самая сложная процедура, но важнее другое — качество прошивки и поддержка калибровщиков. Если вы используете версии непроверенных компаний, возникнут проблемы с обновлением и решением возможных проблем (индивидуальных корректировок) Также необходимо обязательно выполнить диагностику ДВС и датчиков.
Какие гарантии вы даете?
Наши партнеры предлагают 10 и более дней на тест-драйв тюнинговой прошивки с возможностью возврата денег. Плюс вам выдадут индивидуальный сертификат. Он подтверждает, что прошивка Дэу официальная и сделана опытными калибровщиками.
Записывайтесь на чип-тюнинг от АДАКТ к представителю в своем городе.
Автомобили завода Uz-Daewoo получили широкое распространение в России из-за выгодных цен, относительной надежности и простоты. Есть ли смысл делать чип-тюнинг Daewoo — что улучшится в авто с атмосферником? Так как машины по большей части используются как рабочие лошадки, чиповка будет полезна тем, что позволит снизить расход и подтянуть динамику. Да, мощности не выжать, но ездить будет намного комфортнее и приятнее.
Особенности конструкции
После доработок предыдущих версий A15MF/G15MF двигатель A15SMS получил нюансы конструкции:
- цилиндры расточены внутри чугунного блока без гильз, зеркало обработано методом хонингования;
- каналы смазки и антифриза отлиты внутри блока;
- головка блока цилиндров крепится 10 болтами, имеет две направляющие втулки;
- впрыск распределен по фазам, впускной коллектор имеет изменяемую геометрию;
- три подушки распределяют центр масс, гасят вибрации;
- одним клиновым ремнем вращается навесное оборудование – компрессор кондиционера, другим поликлиновым — ГУР и генератор;
- верхний распредвал ГРМ и помпа приводятся в действие зубчатым ремнем;
- выпускной коллектор, маслофильтр и свечи расположены на передней поверхности движка;
- впускной коллектор, генератор и продувочный клапан скомпонованы на задней части ДВС;
- модернизация мотора обеспечила саморегулирование опор гидрокомпенсаторами, для работы которых необходимо высокое качество масла;
- особенностью ГБЦ является пластиковая крышка с резиновым уплотнителем сложной конфигурации;
- благодаря несложной конструкции мотора своими руками возможна и форсировка, и капремонт ГБЦ или блока.

Компоновка навесного оборудования

Ременный привод навесного




![Топ-17 лучших очков для водителей на [year] год](http://tuningstylespb.ru/wp-content/uploads/e/e/1/ee1a415c8bf22c31b98ff0b07e477f2b.jpeg)









![Топ-17 лучших очков для водителей на [year] год](http://tuningstylespb.ru/wp-content/uploads/a/0/9/a092f757d0d0f614beaf1ef91d002c58.jpeg)












![Топ-17 лучших очков для водителей на [year] год](http://tuningstylespb.ru/wp-content/uploads/8/7/6/8760da101ad7f1f14ba18a52e33925b4.jpeg)

